开网店:
直通车推广怎么做才能3步提升质量分?我们在做直通车的时候,不得不谈到的一个重要的指标,质量分,那质量分到底是什么呢?质量得分是搜索推广中衡量关键词与宝贝推广信息和淘宝网用户搜索意向三者之间相关性的综合性指标。
以10分制的形式来呈现,分值越高,可以获得更理想的推广效果。关键词推广质量得分越高,代表您的关键词推广效果优质,就可以用相对更少的推广费用把更优质的宝贝信息展现在更适当的展示位置上,使买卖双方获得双赢。

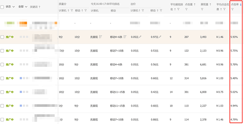
从上面的案例我们可以看到,质量分10分的词对应的平均点击花费相对较低,是0.75元,而质量分是9分的词引流成本是1.46元,相当于翻了一倍。
也就是说如果靠这里的9分的词来引流,我们的成本就要多上一倍的资金,那推广的压力也是大了一倍,所以说,我们在做直通车推广的时候,一定不能忽视质量分这个指标。
那今天我们就来分享下如何提升质量分:

质量分是由三个维度指标组成的综合数据,分别是“创意质量”、“相关性”、“买家体验”,当这3组都是满格的时候,那质量分就会是10分,那这里面如何把各维度都达到满格呢?
首先,我们来看“相关性”,相关性指标的影响因素是该关键词与宝贝类目,属性以及本身信息的相关性,这里包括了宝贝标题,推广创意标题。
优化思路:
1、如果相关性不满格的情况下,首先先确定该关键词是否包含在宝贝标题,和推广创意标题中,如果不包含,就需要添加关键词到宝贝标题或者创意标题中;
2、如果宝贝标题和推广创意标题包含了该关键词,依然不满格,我们需要确定该关键词是否适合该类目推广,检验的方法:
通过生意参谋的市场模块,找到搜索分析的工具,输入推广的该关键词,然后找到类目构成模块,看下这个关键词在各个行业的分布情况,如果和我们所处的行业不一致,那就不适合我们这个关键词推广。

3、如果该关键词的类目和我们所处的行业一致的情况下,再检查下我们这款产品所在的类目是否也在这个类目构成里,也有可能是我们的宝贝放错了类目所导致的。
通过这3步的方法,基本上就可以把相关性的问题解决,达到满格的效果。
下面我们来看“创意质量”,创意质量最重要的就是点击率,通过点击率这个指标来衡量我们的产品是否吸引消费者,那这里就包括了,创意图、产品以及什么样的消费者在什么时间,什么地点,通过什么样的关键词来看到我们的宝贝,并且很有兴趣的点击进来。
优化思路:
1、首先需要先测图,用轮播的方式,测试出产品的卖点以及产品的创意,然后再把其中点击率最高的创意图作为我们主要推广的图片,并且改为优选
2、然后优化地域,找到对我们产品极为感兴趣的省份,通过直通车的报表找到该计划,点击率从高到低进行筛选,点击率比较低的省份,就可以不投放,点击率低说明我们产品在该地区的吸引程度或者竞争力不够,可以不投放,来提升我们整体的点击率。

3、优化时间,时间的优化如果清楚自己类目的点击率什么时间段高,那就直接在这个时间段投放,如果不清楚的情况下,可以建议大家在晚上的20:00-24:00来投放,通常这个时间段的点击率都不会低。
4、关键词:关键词的优化,可以很直接有效的排除一些购物意图不明确的消费者,提升整体的点击率,可以通过标准计划正在推广的关键词列表,点击“点击率”这个指标,将点击率比较低的关键词可以删掉,来提升整体的点击率。
5、精选人群,人群这一块也是可以提升点击率的,我们的产品定位,定价,风格都是会影响到消费者的购物兴趣,那我们就可以通过直通车里的精选人群来找到这部分点击率高的人群,
通过以上5个方面的优化,可以提升该宝贝计划的整体的点击率,从而提升“创意质量”。
最后我们来看“买家体验”这个维度指标,这里的“买家体验”和关键词的展现量、转化率以及售后指标都有关。
优化方法:
1、首先如果展现量很少,关注关键词排名数据,若排名靠后建议适当提高出价获得好的展现。如果出价后,依然展现量很少,我们可以看下工具-流量解析的数据透视查看下该关键词的展现指数,如果太低,就可以不推广这样的关键词。

2、如果数据透视里的的该关键词展现量很高,但是我们出价后依然获得不了展现量,我们需要确定下排名是否靠前以及精选人群的溢价是不是做成了低出价高溢价的形式,把很多人群的展现量降低了下来。
3、其次,我们来看产品的转化率,转化率可以从产品的本身入手,产品的图片,视频,评价,问大家,买家秀等;另外可以从产品的活动方面来提升转化率,比如买二送一,前两小时减20元等活动
4、最后,客户购物后的反馈效果也是很重要的,客户对物流,产品描述,服务态度等的打分评价不仅影响直通车获客成本,还影响我们该宝贝自然搜索的获客流量。
所以我们尽量在48小时内来发出,如果和客户产生了矛盾,尽量以安抚赔偿来解决,不要升级到小二介入来处理,从售后端来提升我们的服务质量。
通过依次优化这3个方面“相关性”、“创意质量”、“买家体验”来提升我们整体的质量分,从而更容易的获得展现量,并且降低我们的获客成本,希望今天的分享可以帮助到大家!
文章来源:开网店官网
